Bruit des motos : comment le mesure-t-on ? Réception, mention sur la carte grise, méthodes de mesure : explications !
Les normes sont elles les mêmes pour tout le monde ? Pourquoi est-ce que sur les cartes grises, les chiffres différent ?
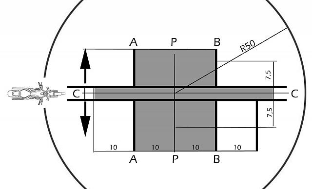
Pour mieux comprendre ces différences, voici comment est faite la mesure de bruit qui permet la réception des motos, et le lien entre cette mesure et le volume sonore porté dans le champ U.1 de vos cartes grises.
Bonne nouvelle : le volume sonore maximal admissible pour réceptionner une moto est bien le même pour toutes. Dans les conditions de la mesure de réception en dynamique (en 3eme à 50km/h), on ne doit pas dépasser 78 dB (Cf règlement européen ci-dessous en annexe 6) pour toutes les motos.
La suite : ici

